Watches-Lexic
Lexique du Génie Horloger

Toujours d'actualité, notre Lexique du Génie Horloger, en trois éditions de trois langues chacune, se compose de deux parties:
- la première, fonctionnement de la montre, dont des extraits sont publiés à la rubrique du même nom,
- la deuxième, Lexique, concerne la terminologie utilisée dont un exemple ci-dessous en 9 langues.

Trois éditions avec trois langues chaque fois:


Français-Deutsch-English Edition avec chapitre "pièces et montage du mouvement" 2e édition

Chinese-English-Japanese + supplément le chapitre "pièces et montage du mouvement" 2e édition
(possibilité de commander seulement le supplément pour 5.-CHF/pièce + frais de port)


Russe-English-Grec Edition avec chapitre "pièces et montage du mouvement"

Ce livre (toutes éditions) est envoyé par le monde pour
27.- € (Europe)
ou $ 38.- USD(partout ailleurs)
ou 32.- CHF(en Suisse)

Numéraire ou carte Visa
Pour commander e-mail:
sales@watches-lexic.ch

Adresse postale:
am / assistance marketing
Prés-du-Lac 57ter
1400 Yverdon-les-Bains

Suisse

Vous le trouverez aussi :
Musée International d'Horlogerie, La Chaux-de-Fonds
Musée Patek Philippe, Genève
Espace Horloger de la Vallée de Joux, Le Sentier
Watchprint, La Croix-sur-Lutry, et
Librairies Payot, sur commande

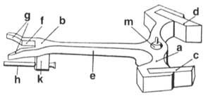
PALLETS. Part of the escapement of a watch or clock, made of steel or brass and shaped rather like a ships anchor.
Watch-pallets.
The pallets used in a watch actually consist of two elements, viz. the pallets proper a and the fork b. The arms are fitted with two pallet-stones : c is the entry-pallet and d the exit-pallet, e is the lever, f is the opening of the fork, g the horns, h the dart or guard-pin fixed in the block k, and m the pallet-staff.
ANKER. Aus Stahl oder Messing hergestellter Teil der Uhrenhemmung, dessen Form einem Schiffsanker gleich.
Anker der tragbaren Uhr. Der verwendete Anker besteht aus zwei Organen, dem Anker a und der Gabel b. Der Anker trägt zwei Paletten aus Rubin : c ist die Eingangspalette und d ist die Ausgangspalette, e ist die Ankerstange, f der Gabeleinschnitt, g die Hörner, h ist der im Klötzcgen k eingesetzte Sicherheitsstift, m ist die Ankerwelle.

     
Technique-page principale
Sommaire